甘肃高考征集志愿2025年填报时间 几号几点截止
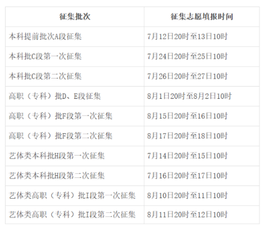
2025-06-27 09:59:51文/张哲2025甘肃高考本科批C段第二次征集志愿填报时间是7月26日20时至27日10时;高职(专科)批D、E段征集志愿填报时间是8月1日20时至8月2日10时。以下是小编整理的详细内容,大家可以看一看。

2025年甘肃高考征集志愿填报时间是什么时候
2025年甘肃高考征集志愿填报时间:

征集志愿是针对某些高校在某批次录取中未招满的情况,通过再次征集考生志愿的方式进行补充录取。它通常发生在每个批次的普通志愿录取结束后,省教育考试院会公布未完成招生计划的院校和专业,供符合条件的考生填报。
考生一定注意:如果登录志愿征集填报系统,无法填报征集志愿,提示“你不在本批次的征集志愿名单里”,这就代表你可能在这个批次已处于预录取或录取状态,请耐心等待录取结果!如果能填,证明你原先所填报的志愿没录取到你,这个时候就要慎重填报征集志愿。
2025甘肃高考征集志愿报考的注意事项
一、密切关注,抓紧填报
根据往年情况,各省各批次征集志愿时间较短,一般为24小时以内。考生家长要密切关注,及时获取信息,按时选报。要注意的是,每批次征集志愿的截止时间一到,网上填报志愿系统将自动关闭,考生将无法登录系统填报。所以,父母要提醒孩子尽早上网填报,不要错失良机。有些考生家长误以为参加征集志愿的高校都很“差”,而放弃了这次机会。
其实,由于生源情况的变化,一些很好的高校和专业也会参加征集志愿。每年本科一批征集志愿的高校中不乏“211”高校,许多学校建校历史悠久、师资力量雄厚。
二、注意多次征集的情况
有的高校一次征集志愿后,仍然没有完成招生计划,就有可能进行第二次甚至多次征集志愿。参加征集志愿的考生如果在本批次第一次征集志愿时仍没有被高校录取,还可以继续关注下一次征集志愿的情况,在本省(区、市)级招生考试机构的官方网站或其他和教育相关网站获得信息。
在高考录取期间,考生应该保持电话畅通,特别是在正常录取阶段没有被录取的考生和参加本批次第一次征集志愿没有被录取的考生,因为在本批次几次征集志愿结束后如果还有院校缺额,为不影响下一批次的录取,省(区、市)级招生考试机构有时会采取电话征集(给没有被录取的、分数满足学校要求的考生打电话)的方式进行征集志愿。
2025甘肃本科批征集志愿填报时间 截止时间几号几点2025年甘肃省本科批C段第一次征集志愿时间为7月...
2025-06-26
2025甘肃高考提前批录取时间安排 具体什么时候录取2025甘肃高考提前批录取时间预计在7月进行。参考...
2025-06-26
2025军队院校在甘肃招收普通高中毕业生入围分数控制线公布2025年军队院校在甘肃省招收普通高中毕业生入围分...
2025-06-26
甘肃2025高考本科志愿填报时间及官方入口 填报流程是什么甘肃2025高考本科志愿填报时间:6月26日20:...
2025-06-26
甘肃2025年高考艺术类分数线公布 分数线是多少甘肃2025年高考艺术类分数线已经公布,其中美术与...
2025-06-25
2025甘肃高考录取分数线公布 各批次多少分2025甘肃高考各批次录取分数线已经公布,其中物理...
2025-06-25
2025甘肃高考专科录取分数线公布:历史类160 物理类1802025甘肃高考专科录取分数线已经公布,其中物理类...
2025-06-25
2025甘肃高考本科录取分数线公布:历史类412 物理类3742025甘肃高考本科录取分数线已经公布,其中物理类...
2025-06-25
甘肃高考各批次2025年志愿填报时间 什么时候填报能填多少大学2025甘肃高考志愿填报即将进行,其中本科志愿在高...
2025-06-24
甘肃高考征集志愿2025填报时间 几号几点截止2025甘肃高考除本科批(B段)、艺术、体育类本科...
2025-06-24
甘肃高考提前批志愿2025年填报时间 可以报几个学校和专业2025甘肃高考提前批填报时间为,本科提前批是6月...
2025-06-24
甘肃提前批能报几个学校 2025甘肃高考提前批学校名单和专业甘肃高考提前批最多可以填45所学校。2025年甘肃...
2025-06-24
甘肃高考2025各批次志愿填报时间汇总 截止日期什么时候据悉,2025年甘肃高考6月26日至7月1日填报本...
2025-06-24
2025甘肃高考成绩一分一段表出炉 最新位次排名【完整版】2025甘肃高考成绩一分一段表预计6月25日左右公...
2025-06-23
甘肃高考志愿填报时间2025具体时间 填报系统入口网址甘肃2025年高考志愿填报将于6月26日开始。考生...
2025-06-23
点击查看 甘肃高考志愿填报 更多内容









